住建部重拳出击,33家企业资质被撤销!
2025/6/26 18:16:03 浏览数:1373
住建部核查全网联动:建筑业严管时代全面开启

2025年6月16日,中国核工业第二二建设有限公司建筑工程施工总承包特级资质被撤销的消息犹如惊雷,震动整个行业。其申报资质所用的36项专业技术人员业绩被证实全系伪造——这已是半年内第四家因业绩造假被“斩落马下”的特级资质企业。严监管风暴正以前所未有的力度重塑建筑行业生态。
一、数据铁幕:高密度监管下的资质清退潮
3月份,中国建筑业协会发布《2024年建筑业发展统计分析》226万家建筑企业中有资质且实际运营的仅16.8万家,超74%的企业存在资质缺陷。这种乱象不仅扰乱市场秩序,更直接导致工程质量安全事故频发。住建部自2024年起掀起史上最严资质核查风暴,通过"动态核查+四库一平台"组合拳,彻底打破行业潜规则。
特级资质“清零”行动: 2025年1-5月,住建部雷霆出击,连续撤销33家企业资质,远超住建部历年撤销资质的总和。其中4家特级资质企业(中国核工业二二建设、山西安装集团、深圳建安集团、福建华荣建设)均因核心申报业绩造假被“一剑封喉”,彻底丧失行业最高准入资格。







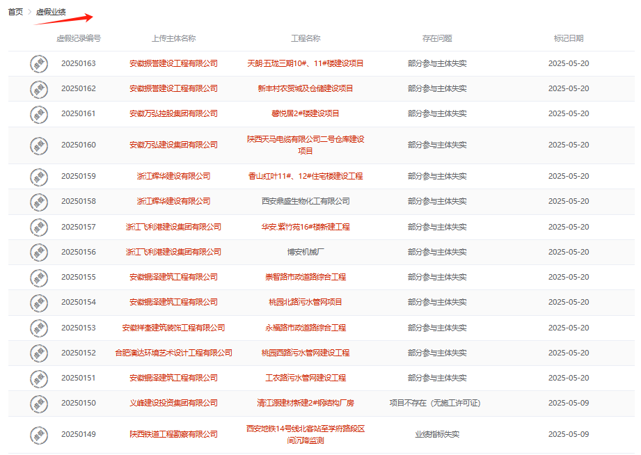
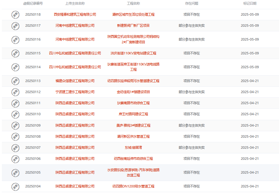
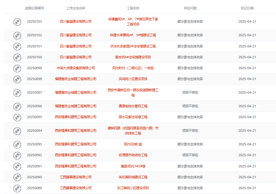
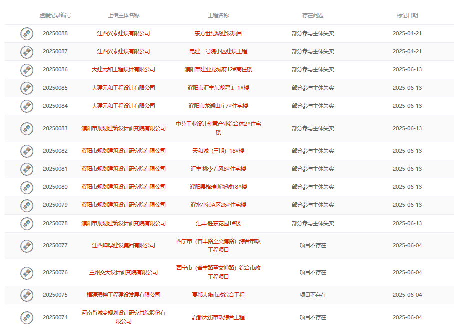
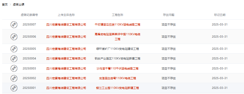
虚假业绩无处遁形:同期,住建部公示平台集中曝光157条虚假业绩信息。这些试图蒙混过关的虚假工程记录,在“四库一平台”数据穿透下原形毕露。











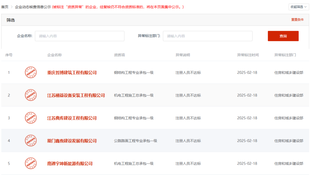
动态核查精准狙击:18家企业因注册人员社保异常、技术负责人不达标、设备资产造假等问题,被住建部动态核查公示为“不合格”,面临限期整改或资质降级风险。




住建部建市〔2024〕41号文明确要求强化资质审批事后监管,依托全国建筑市场监管公共服务平台(“四库一平台”),运用大数据比对、人工智能筛查等技术手段,对申报材料真实性实行“智能预警+人工复核”双机制审查。上述数据正是该政策全面落地的直接体现。
二、全网联动:构筑“数据铁笼”监管新范式
监管利剑高悬的背后,是中央与地方协同编织的一张全域覆盖、实时响应的监管天网。
1. “四库一平台”中枢神经作用凸显:
全国数据实时核验: 企业资质、人员注册、社保缴纳、项目业绩、施工许可、竣工验收、安全事故等关键信息在平台汇聚。住建部依托平台打通全国31个省级住建部门数据壁垒,实现“一处填报、全国比对”。
动态预警熔断机制: 当系统检测到企业人员社保在多处缴纳、业绩关键信息缺失或矛盾、资质标准人员不达标时,自动触发预警。相关信息实时推送至招投标监管系统,形成“资质异常-投标禁入”的硬性约束(如福建“黑名单企业禁投国有项目1年”政策)。
业绩追溯“终身负责”:代表工程业绩需在平台全量补录(2023年底前竣工项目补录截止日为2025年6月30日),且必须形成“施工许可证→合同→过程文件→竣工验收报告→图纸”的完整、可追溯电子证据链。深圳建安集团、山西某集团特级资质被撤销,皆因关键业绩材料无法闭环验证。
2. 地方“硬核”政策层层加码:
浙江:“停标”倒逼合规: 对动态核查中连续两次出现人员社保异常(如1年内跳槽2次)的企业,实施暂停投标资格处罚,迫使企业夯实人员队伍。
广东:“挂证”每日监控: 建立注册建造师等核心人员数量及社保缴纳情况每日监测机制,异常波动即时预警,从源头上遏制证书“人证分离”。
福建:“三维联动”穿透监管: 创新建立“市场行为(招投标)-现场工程管控-资质合规性”三维联动监管机制。发生质量安全事故的企业,必倒查其资质获取与维持的合法性,形成强大震慑。
三、企业生存法则重构:合规是唯一出路
在“动态核查+四库一平台”的立体监管体系下,建筑企业面临前所未有的合规压力。生存与发展策略亟需根本性转变:
1. 业绩真实性是生命线:
全面“体检”历史项目:立即梳理近五年所有申报业绩,确保其“五证合一”(合同、施工许可证、竣工验收备案、竣工图纸、结算凭证)真实、完整、可查,经得起平台数据穿透与人工复核双重检验。
战略性储备代表工程: 未来资质升级(尤其是特级)需依赖多项全国平台可查、证据链完备的代表工程。企业需有意识规划、建设并规范录入此类项目。
2. 人才结构须真金白银:
“一证一岗一社保”刚性落地: 彻底杜绝“证书挂靠”,确保注册建造师、职称人员、技术负责人等核心申报人员劳动关系真实、社保唯一且连续缴纳。
技术负责人“终身绑定”关键业绩:其作为项目经理主持的代表工程业绩,将与企业和个人信用深度绑定,造假代价巨大。
3. 构建数字化合规中枢:
主动对接监管平台: 设立专职岗位,实时监控本企业在“四库一平台”的数据状态,确保信息准确、及时更新,对预警信号快速响应整改。
引入第三方预审机制: 在重大资质申报或升级前,聘请专业机构进行合规性预审,提前排除风险点。
四、行业趋势:严进、严管、重罚成常态
核查范围持续扩大: 监管重点从新申报企业延伸至通过告知承诺制获证企业、发生过质量安全事故的企业、频繁变更注册人员的企业等,实行“双随机、一公开”常态化、全覆盖核查。
资质升级门槛飙升: 特级资质申报将要求提供3项以上全国平台可查A类业绩、经得起全链条验证的代表工程;技术负责人具有15年以上从事工程技术管理工作经历,且具有工程 序列高级职称及一级注册建造师或注册工程师执业资格;主持完成过 两项及以上施工总承包一级资质要求的代表工程的技术工作或甲级设 计资质要求的代表工程或合同额2亿元以上的工程总承包项目。
“质量信用”价值凸显: 随着监管持续高压和建筑市场信用体系完善,企业的合规记录、质量安全表现、信用等级将与其市场竞争力深度绑定。资质将不再是“躺赚”牌照,而是企业真正核心能力与市场信誉的体现。
结语
住建部主导的这场资质监管风暴,绝非一阵风式的运动,而是中国建筑业告别粗放生长、迈向高质量发展的必然选择。当“四库一平台”的数据铁笼越扎越紧,当动态核查的利剑时刻高悬,建筑企业唯有将合规内化为基因,将诚信铸就为基石,方能在严管时代立于不败之地。严管之下,大浪淘沙,合规者生存,优质者胜出——一个以“质量信用”为核心的新建筑时代正加速到来。
来源:建筑业要文